今天主要分享的是关于台达 ASDA 伺服的相关控制案例,主要有以下的内容:
台达 ASDA 伺服定位演示系统

控制要求
1、由台达 PLC 和台达伺服组成一个简单的定位控制演示系统。通过 PLC 发送脉冲控制伺服,实现原点回归、相对定位和绝对定位功能的演示。
2、z 监控画面:原点回归、相对定位、绝对定位。
元件说明


ASD-A 伺服驱动器参数必要设置

当出现伺服因参数设置错乱而导致不能正常运行时,可先设置 P2-08=10(回归出厂值),重新上电后再按照上表进行参数设置。
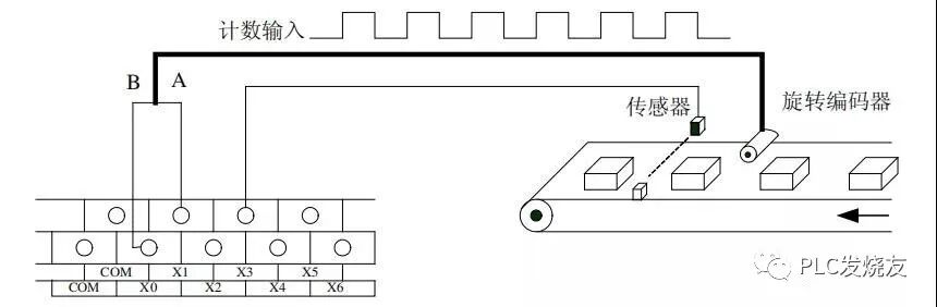
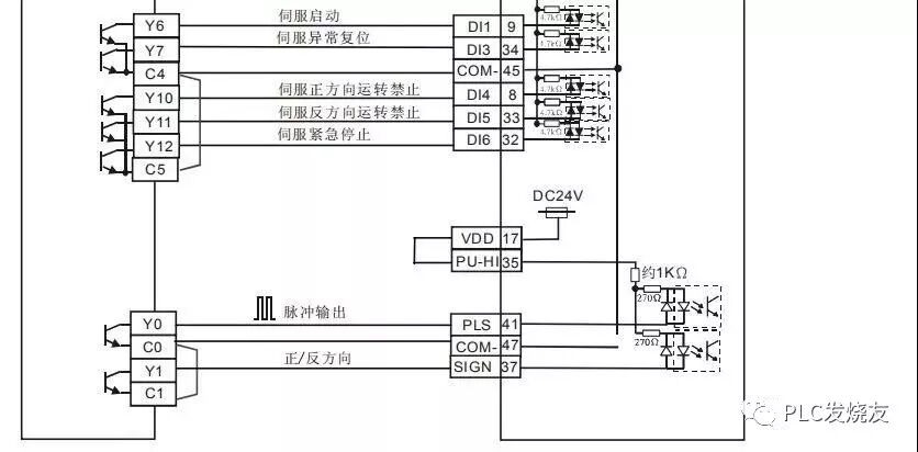
PLC 与伺服驱动器硬件接线图


控制程序


程序说明
当伺服上电之后,如无警报信号,X3=On,此时,按下伺服启动开关,M10=On,伺服启动。
按下原点回归开关时,M0=On,伺服执行原点回归动作,当 DOG 信号 X2 由 Off→On 变化时,伺服以 5KHZ 的寸动速度回归原点,当 DOG 信号由 On→Off 变化时,伺服电机立即停止运转,回归原点完成。
按下正转 10 圈开关,M1=On,伺服电机执行相对定位动作,伺服电机正方向旋转 10 圈后停止运转。
按下正转 10 圈开关,M2=On,伺服电机执行相对定位动作,伺服电机反方向旋转 10 圈后停止运转。
按下坐标 400000 开关,M3=On,伺服电机执行绝对定位动作,到达绝对目标位置 400,000处后停止。
按下坐标-50000 开关,M4=On,伺服电机执行绝对定位动作,到达绝对目标位置-50,000处后停止。
若工作物碰触到正向极限传感器时,X0=On,Y10=On,伺服电机禁止正转,且伺服异常报警(M24=On)。
若工作物碰触到反向极限传感器时,X1=On,Y11=On,伺服电机禁止正转,且伺服异常报警(M24=On)。
当出现伺服异常报警后,按下伺服异常复位开关,M11=On,伺服异常报警信息解除,警报解除之后,伺服才能继续执行原点回归和定位的动作。
按下 PLC 脉冲暂停输出开关,M12=On,PLC 暂停输出脉冲,脉冲输出个数会保持在寄存器内,当 M12=Off 时,会在原来输出个数基础上,继续输出未完成的脉冲。
z 按下伺服紧急停止开关时,M13=On,伺服立即停止运转,当 M13=Off 时,即使定位距离尚未完成,不同于 PLC 脉冲暂停输出,伺服将不会继续跑完未完成的距离。
程序中使用 M1346 的目的是保证伺服完成原点回归动作时,自动控制 Y4 输出一个 20ms 的伺服脉冲计数寄存器清零信号,使伺服面板显示的数值为0(对应伺服P0-02参数需设置为0)。
程序中使用 M1029 来复位 M0~M4,保证一个定位动作完成(M1029=On),该定位指令的执行条件变为 Off,保证下一次按下定位执行相关开关时定位动作能正确执行。
组件说明中作为开关及伺服状态显示的 M 装置可利用台达 DOP-A 人机界面来设计,或利用WPLSoft 来设定。
一、NEG 位移反转控制

控制要求
定位控制系统做左右位移运动,每按下一次按钮(X1),定位装置从当前位置反转移动到以原点(D200,D201 值为 K0)为对称中心的另一边。
元件说明

控制程序

程序说明
假设 D200、D201(32 位数据)的初始内容值为 K50000,按下一次按钮后,即 X1 由 Off→On 变化,D200、D201(32 位数据)的内容值变为 K-50000。
同时,M0 被置位为 On,DDRVA 指令执行,以 5KHZ(K5000)的 频率向绝对目标位置 K-50000移动,目标位置到达后,M1029=On,M0 被复位为 Off,Y0 停止发送脉冲。
再次按下按钮,即 X1 由 Off→On 变化,D200、D201(32 位数据)的内容值由 K-50000 变为 K50000,同时 M0 被置位为 On,开始执行到绝对目标位置 K50000 的定位运动,直到到达目标位置才停止。
如此,按下一次按钮(X1),定位装置就会从当前位置移动到以原点为对称中心点的另一边。
二、两路脉冲输出
XC3 系列和 XC5 系列 PLC 一般具有 2 个脉冲输出。为了使用脉冲输出,必须要使用带有晶体管输出的 PLC。通过使用不同的指令编程方式,可以进行无加速/减速的单向脉冲输出,也可以进行带加速/减速的单向脉冲输出,还可以进行多段、正反向输出等等,输出频率最高可达 400K Hz。
本例中,使用单段单向脉冲输出,Y0 控制 X 轴步进电机,Y1 控制 Y 轴步进电机。通过流程控制两个轴轮流驱动。
例图:

程序流程框图:

程序及注释:





三、高速计数中断
XC 系列 PLC 都具有高速计数功能,通过选择不同的计数器可以进行单相(递增模式、脉冲+方向输入模式),AB 相模式计数,最高频率可达到 200KHz。PLC 2.51 版本以上包含高速计数中断功能,每路高速计数器拥有 24 段 32 位的预置值,计数器的每段计数差值等于预置值时产生中断。
本例中,C630=-1000 时,Y0 输出,其他复位;C630=-1500 时,Y1 输出,其他复位;C630=1500 时,Y2 输出,其他复位;C630=3500 时,Y3 输出,其他复位。
例图:

程序流程框图:

程序及注释:


